较新!山东16市最全房价排名来了!济宁居然排在......
扫描到手机,新闻随时看
扫一扫,用手机看文章
更加方便分享给朋友
点击上方蓝字"梁山新鲜事"看更多精彩内容
青岛是经济区规划核心区域龙头城市

青岛简称青,旧称“胶澳”,别称“琴岛”“岛城”,是一座国际化的大都市,青岛不仅是世界啤酒之城、世界帆船之都,还是国务院批准的山东半岛蓝色经济区规划核心区域龙头城市。
1月二手房均价:22185元


薪资较高的城市

青岛作为山东省平均薪资较高的城市。按理说所在城市薪资与房价对比最良性的就是月薪能买一平米,但是青岛月薪平均是5千多,房价均价2万多,月薪是每平均价的1/4,任重道远啊。
北方第三座GDP突破万亿元的城市
提及山东,人们往往先会想起青岛,作为继北京、天津之后,北方第三座GDP突破万亿元的城市,青岛市一直以来都是山东省的“龙头”城市,经济发展的领航者,而笔者也关注到了,进入2019年,青岛10个区市之中,有8个区市的房价均已超过了万元,而青岛也成为了山东省房价较高的城市,那么,山东省其它城市的房价又如何呢?它们的工资与房价成正比吗?
龙山文化的发祥地之一

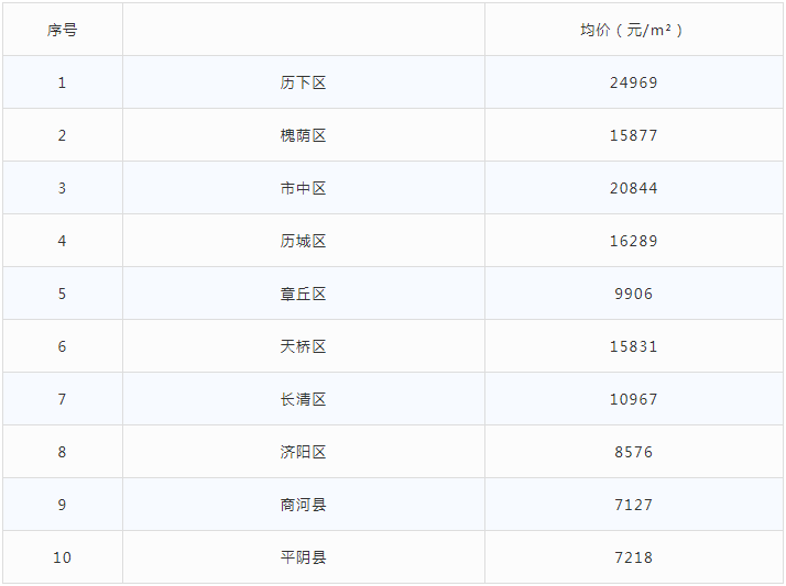
排名第二的是省会济南,也是全国知名的泉水之都,素有“一城山色半城湖”的美誉,是拥有“山、泉、湖、河、城”独特风貌的旅游城市,是国家历史文化名城、首批中国优秀旅游城市史前文化——龙山文化的发祥地之一。
1月份二手房均价:19172元


济南平均薪资和青岛差不多

济南平均薪资和青岛差不多,排在第二,相比之下,平均房价还是比青岛低了不少,19172元/平,然而还是一个悲伤的天文数字。莱芜区为7003元。
全国有名的避暑名城

烟台是中国首批14个沿海开放城市之一,是环渤海经济圈内重要节点城市,也是山东半岛蓝色经济区骨干城市,更是一座全国有名的避暑名城。
1月份二手房均价:10750元


烟台2017年平均工资4600元

好山好水好地方的烟台,总能吸引不少人的目光,每次看到烟台的薪水,再看看烟台的房价,立刻冷静下来了,还是在小城市待着幸福感较强。
是一座国家历史文化名城

淄博历史悠久,是一座国家历史文化名城,为齐文化的发祥地,也是世界足球起源地,是山东省重要的陶瓷、建材、化工、机电、物流中心。
1月份新房均价:9320元


淄博2017年平均工资

终于看见一个4位数的房价了,薪资排名第8的淄博,平均房价还没过万,淄博的城市幸福感指数一直很高,除了它气候宜人,经济发达,相信也与它相对合理的房价分不开。
中国排名前列批沿海开放城市

威海别名威海卫,是中国大陆距离日本、韩国最近的城市,也是中国排名前列批沿海开放城市。
1月份二手房均价:9305元


威海2017年平均工资4840元

薪资全省排名第三名,房价全省排名第五名,虽说威海和淄博的房价与薪资相差较少,但怎么说,威海都是工资高,房价低啊。
联合国宜居城市之一

日照位于黄海之滨与日本、韩国隔海相望,下辖东港区、岚山区、莒县、五莲县2区2县,以及日照经济技术开发区、山海天旅游度假区,被誉为“水上运动之都”与“东方太阳城”,是联合国宜居城市之一。
1月份二手房均价:9042元


日照2017年平均工资3890元

海滨城市日照,一座去了就不想回的城市。总是让人恋恋不舍,但是3000多的工资,9000多房价,让人不得不退步。
素有“中国北方的威尼斯”之称

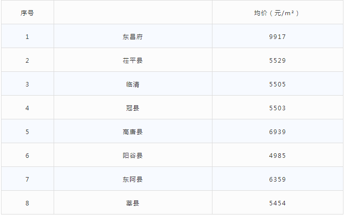
聊城城区独具“江北水城”特色,素有“中国北方的威尼斯”之称,2018年入选了“2018畅游中国100城”。
1月份二手房均价:8538元


聊城2017年平均工资4230元

1个月的工资,0.5平方米的房子,聊城无论是工资,还是房价,都是一切尽如人意的。
泰安因泰山而得名

提到泰安,大家首先想到的就是泰山,泰安因泰山而得名,是中国优秀旅游城市,也是一座国家历史文化名城于1982年被国务院列为排名前列批对外开放旅游城市。
1月份二手房均价:8276元


泰安2017年平均工资3910元

泰安,一个月近4000元的工资,房价又在8000元左右,这个工资与房价的差距其实还算是比较合理的。
高级交通运输主枢纽城市

滨州北拥渤海、黄河横穿城市,是高级交通运输主枢纽城市,先后荣获国家卫生城市、全国双拥模范城市、中国优秀旅游城市、山东省适宜人居环境城市等称号。
1月份二手房均价:8127元


滨州2017年平均工资4420元

泰安的房价相比,滨州与之相差不了多少,但是工资却远远高于了泰安。
全国33个工商业大城市之一

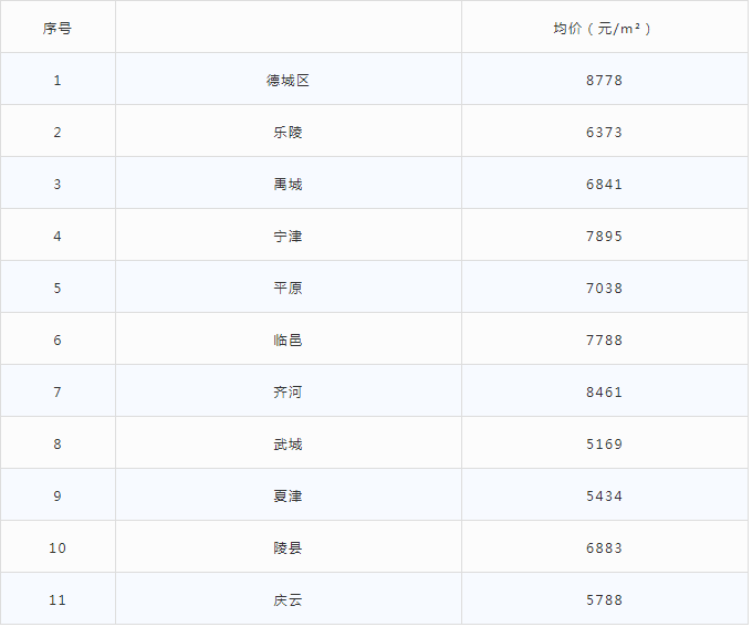
德州自古就是全国重要的交通枢纽,明清时期还是全国33个工商业大城市之一,有着深厚的历史文化底蕴,扒鸡、金丝小枣、保店驴肉、德州黑陶等地方特产驰名海内外。
1月份二手房均价:8107元


德州2017年平均工资4700元

生活离不开两种指标 一个是房子,一个是票子 ,而在德州,真的是有美食、有房子、有票子啊。
山东半岛城市群的重要组成部分

东营是环渤海经济区的重要节点,山东半岛城市群的重要组成部分,2018年新一批开展创新型城市建设的名单中全国17座城市入选,东营市名列其中。
1月份二手房均价:7888元


东营2017年平均工资4190元

4190的工资,7888元的平均房价,到了东营,奋斗个几年,在东营就能买个大房子了!
风筝之都

潍坊古称“潍州”“潍县”又名“鸢都”,不仅是世界知名的风筝之都,还是国家环保模范城市、国家卫生城市、国家园林城市、中国优秀旅游城市...
1月份二手房均价:7380元


潍坊2017年平均工资4650元

拿着每月三四千的工资,却背负着每平一万多的房价,这是很多城市人们的“辛酸”日常。但是,在潍坊,你不用去感受这种心酸!
因铁道游击队和台儿庄大战而闻名中外

枣庄市是中国排名前列“海峡两岸交流基地”和“全国健身秧歌城市”,因铁道游击队和台儿庄大战而闻名中外,2018年4月入选“2018畅游中国100城”。
1月份二手房均价:7349元


枣庄2017年平均工资4090元

和潍坊相比,枣庄的人民就稍微有点心酸了,房价相差了30多块钱,但工资却差了500多,唉,这真的是一言难尽啊。
高级重点开发区域

临沂地处长三角经济圈和环渤海经济圈,是鲁南临港产业带、海洋产业联动发展示范基地和东陇海高级重点开发区域。
1月份二手房均价:7312元


临沂2017年平均工资4820元

谈到临沂,这真的是地处长三角经济圈和环渤海经济圈的好地方,4820元的平均工资,7312元的平均房价,换算成比例,想必这就是“北漂”人民心中的“天堂”吧。
诸多文化的重要发祥地之一

济宁历史文化悠久,是诸多文化的重要发祥地之一,济宁市11县市区人文旅游资源丰富,曲阜孔庙、孔府及孔林和境内的京杭大运河,被联合国教科文组织列入世界遗产名录,曾入选“2018畅游中国100城”。
1月份二手房均价:7041元


济宁2017年平均工资4020元

看完临沂的工资与房价,想必济宁的小伙伴,都想离开济宁吧。
有“花乡水邑”之美称

菏泽历史悠久,文化底蕴深厚,是我国著名的书画之乡、戏曲之乡、民间艺术之乡,是水浒传中梁山泊所在地,因广种牡丹2000年被更名为“牡丹区”,因此菏泽又有“花乡水邑”之美称。
1月份二手房均价:6367元


菏泽2017年平均工资4230元

一个月的工资与一平米的房价,相差不多,想必这是我们每个人的梦想吧~
青岛市崂山区成为山东半岛少有一个均价突破4万的区域,在全国也是名列前茅!山东半岛一线中青岛和济南占据半壁江山,二线也是烟台淄博威海等省内强市占据主导,三线中经济实力强劲的县级市开始展露风头
↓↓↓你有对象了吗?点击“阅读原文”快速相亲!
声明:本文由入驻焦点开放平台的作者撰写,除焦点官方账号外,观点仅代表作者本人,不代表焦点立场。


