占地约252亩,总起始价7.74亿元!济宁城区4宗土地挂牌
扫描到手机,新闻随时看
扫一扫,用手机看文章
更加方便分享给朋友
济宁城区再次挂牌土地!搜狐网济宁小编相关渠道获悉:经济宁市人民政府批准,济宁市自然资源和规划局决定以网上挂牌方式出任城区3宗、太白湖新区1宗国有建设用地使用权,土地用途为1宗城镇住宅用地、2宗城镇住宅用地兼容商业用地、1宗商业用地;土地总面积为168111㎡,约252亩;总起始价为77381万元。
接下来,我们详细了解一下挂牌出让地块的基本情况和规划指标等要求:

地块一:太白湖新区JTB2024-009号太白湖湾片区(荷花路东、常利路南)宗地
土地位于:太白湖新区荷花路以东、常利路以南;土地面积:31038㎡(约46.6亩);土地用途:城镇住宅用地;出让年限:住宅70年;容积率不大于1.6;起始价:22844万元,综合楼面价起价:4600元/㎡;

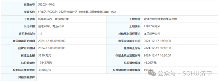
地块二:任城区JRC2024-062号金塔片区(新华路以西香樟路以南)地块
土地位于:新华路以西、香樟路以南;土地面积:41877㎡(约62.8亩);土地用途:城镇住宅用地兼容商业用地;出让年限:住宅70年、商业40年;容积率不大于1.1;起始价:17643万元,综合楼面价起价:3830元/㎡;

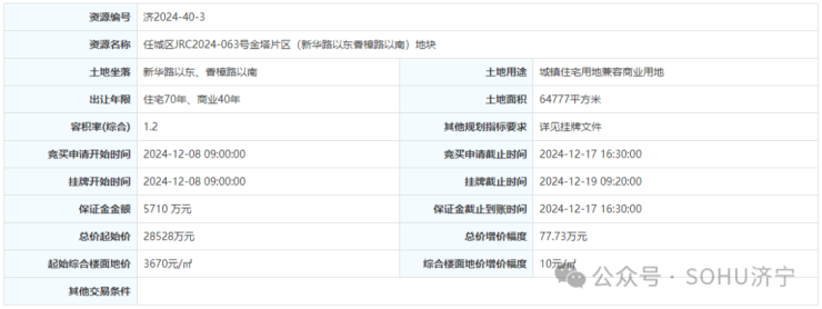
地块三:任城区JRC2024-063号金塔片区(新华路以东香樟路以南)地块
土地位于:新华路以东、香樟路以南;土地面积:64777㎡(约97.2亩);土地用途:城镇住宅用地兼容商业用地;出让年限:住宅70年、商业40年;容积率不大于1.2;起始价:28528万元,综合楼面价起价:3670元/㎡;

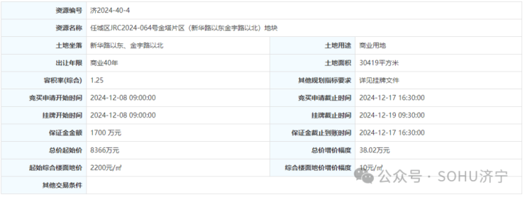
地块四:任城区JRC2024-064号金塔片区(新华路以东金宇路以北)地块
土地位于:新华路以东、金宇路以北;土地面积:30419㎡(约45.6亩);土地用途:商业用地;出让年限:商业40年;容积率不大于1.25;起始价:8366万元,综合楼面价起价:2200元/㎡;

各宗地网上挂牌报价时间为:
1. 太白湖新区JTB2024-009号太白湖湾片区(荷花路东、常利路南)宗地:2024年12月8日9时00分至2024年12月19日9时00分。
2. 任城区JRC2024-062号金塔片区(新华路以西香樟路以南)地块:2024年12月8日9时00分至2024年12月19日9时10分。
3. 任城区JRC2024-063号金塔片区(新华路以东香樟路以南)地块:2024年12月8日9时00分至2024年12月19日9时20分。
4. 任城区JRC2024-064号金塔片区(新华路以东金宇路以北)地块:2024年12月8日9时00分至2024年12月19日9时30分。
责任编辑:袁培淞
声明:本文由入驻焦点开放平台的作者撰写,除焦点官方账号外,观点仅代表作者本人,不代表焦点立场。


