占地约208亩,起始价5.7亿!济宁城区5宗土地挂牌
扫描到手机,新闻随时看
扫一扫,用手机看文章
更加方便分享给朋友
济宁城区连续挂牌土地!搜狐网济宁小编相关渠道获悉:经济宁市人民政府批准,济宁市自然资源和规划局决定以网上挂牌方式出任城区3宗、太白湖新区2宗国有建设用地使用权,土地用途为3宗城镇住宅用地兼容商业用地、2宗商务金融用地;土地总面积为138812㎡,约208亩;总起始价为57074万元。
接下来,我们详细了解一下挂牌出让地块的基本情况和规划指标等要求:

地块一:太白湖新区JTB2024-012号太白湖湾片区(河都路西济宁大道南)宗地
土地位于:太白湖新区河都路以西、济宁大道以南;土地面积:26505㎡(约40亩);土地用途:商务金融用地;出让年限:商业40年;容积率不大于3.8;起始价:11140万元,综合楼面价起价:1106元/㎡;

地块二:太白湖新区JTB2024-013号太白湖湾片区(河都路西圣贤路北)宗地
土地位于:太白湖新区河都路以西、圣贤路以北;土地面积:43116㎡(约65亩);土地用途:商务金融用地;出让年限:商业40年;不大于3.2;起始价:16874万元,综合楼面价起价:1223元/㎡;

地块三:任城区JRC2024-070号唐口片区(济水大道东唐姚路南)地块
土地位于:唐口街道济水大道以东、唐姚路以南;土地面积:11865㎡(约18亩);土地用途:城镇住宅用地兼容商业用地;出让年限:住宅70年、商业40年;不大于1.8;起始价:2371万元,综合楼面价起价:1110元/㎡;

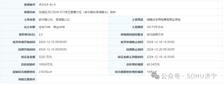
地块四:任城区JRC2024-073号五里营片区(安宁路东英泽路北)地块
土地位于:安宁路以东、英泽路以北;土地面积:34170㎡(约51亩);土地用途:城镇住宅用地兼容商业用地;出让年限:住宅70年、商业40年;不大于2.0;起始价:16060万元,综合楼面价起价:2350元/㎡;

地块五:任城区JRC2024-074号五里营片区(西十二路北安宁路西)地块一
土地位于:安居街道西十二路以北、安宁路以西;土地面积:23156㎡(约35亩);土地用途:城镇住宅用地兼容商业用地;出让年限:住宅70年、商业40年;不大于1.5;起始价:10629万元,综合楼面价起价:3060元/㎡;

各宗地网上挂牌报价时间为:
1. 太白湖新区JTB2024-012号太白湖湾片区(河都路西济宁大道南)宗地:2024年12月10日9时00分至2024年12月20日9时00分。
2. 太白湖新区JTB2024-013号太白湖湾片区(河都路西圣贤路北)宗地:2024年12月10日9时00分至2024年12月20日9时10分。
3. 任城区JRC2024-070号唐口片区(济水大道东唐姚路南)地块:2024年12月10日9时00分至2024年12月20日9时20分。
4. 任城区JRC2024-073号五里营片区(安宁路东英泽路北)地块:2024年12月10日9时00分至2024年12月20日9时30分。
5. 任城区JRC2024-074号五里营片区(西十二路北安宁路西)地块一:2024年12月10日9时00分至2024年12月20日9时40分。
责任编辑:袁培淞
声明:本文由入驻焦点开放平台的作者撰写,除焦点官方账号外,观点仅代表作者本人,不代表焦点立场。


