占地约405亩,起始价2.06亿元!济宁市任城区8宗土地挂牌
扫描到手机,新闻随时看
扫一扫,用手机看文章
更加方便分享给朋友
济宁市任城区再次挂牌土地!搜狐网济宁小编相关渠道获悉:经济宁市人民政府批准,济宁市自然资源和规划局决定以网上挂牌方式出任城区8宗国有建设用地使用权,土地用途为2宗城镇住宅用地兼容商业用地、6宗工业用地;土地总面积为270285㎡,约405亩;总起始价为20621万元。
接下来,我们详细了解一下挂牌出让地块的基本情况和规划指标等要求:

任城区JRC2024-050号长沟片区(济梁公路以南港湾路以西)地块一、任城区JRC2024-050号长沟片区(济梁公路以南港湾路以西)地块二、任城区JRC2023-026号二十里铺片区(北站站前路以北长兴路以东)地块、任城区JRC2024-069号长沟(疏港路西济梁公路北)地块、任城区JRC2024-072号长沟(济梁公路东)地块、任城区JRC2024-059号唐口片区(园发路以西兴唐路以北)地块建设项目用地出让执行工业项目用地标准化供应方案。
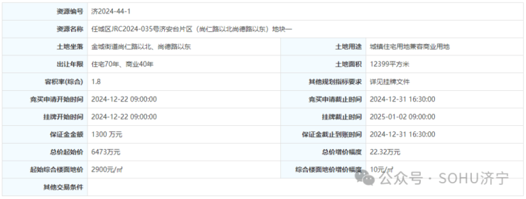
地块一:任城区JRC2024-035号济安台片区(尚仁路以北尚德路以东)地块一
土地位于:金城街道尚仁路以北、尚德路以东;土地面积:12399㎡(约19亩);土地用途:城镇住宅用地兼容商业用地;出让年限:住宅70年、商业40年;容积率不大于1.8;起始价:6473万元,综合楼面价起价:2900元/㎡;

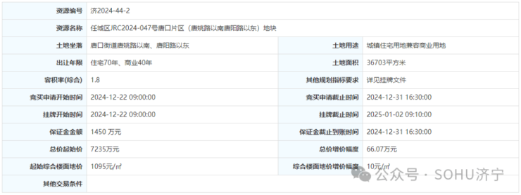
地块二:任城区JRC2024-047号唐口片区(唐姚路以南唐阳路以东)地块
土地位于:唐口街道唐姚路以南、唐阳路以东;土地面积:36703㎡(约55亩);土地用途:城镇住宅用地兼容商业用地;出让年限:住宅70年、商业40年;不大于1.8;起始价:7235万元,综合楼面价起价:1095元/㎡;

地块三:任城区JRC2024-050号长沟片区(济梁公路以南港湾路以西)地块一
土地位于:任城区长沟镇济梁公路以南、港湾路以西;土地面积:16731㎡(约25亩);土地用途:工业用地;出让年限:工业50年;不小于1.0;起始价:502万元,综合楼面价起价:300元/㎡;

地块四:任城区JRC2024-050号长沟片区(济梁公路以南港湾路以西)地块二
土地位于:任城区长沟镇济梁公路以南、港湾路以西;土地面积:111067㎡(约167亩);土地用途:工业用地;出让年限:工业50年;不小于1.0;起始价:3333万元,综合楼面价起价:300元/㎡;

地块五:任城区JRC2023-026号二十里铺片区(北站站前路以北长兴路以东)地块
土地位于:任城区北站站前路以北、长兴路以东;土地面积:33425㎡(约50亩);土地用途:工业用地;出让年限:工业50年;不小于1.0;起始价:1187万元,综合楼面价起价:355元/㎡;

地块六:任城区JRC2024-069号长沟(疏港路西济梁公路北)地块
土地位于:任城区长沟镇疏港路以西、济梁公路以北;土地面积:24537㎡(约37亩);土地用途:工业用地;出让年限:工业50年;不小于1.0;起始价:749万元,综合楼面价起价:305元/㎡;

地块七:任城区JRC2024-072号长沟(济梁公路东)地块
土地位于:任城区长沟镇济梁公路以东、日兰高速以北;土地面积:23326㎡(约35亩);土地用途:工业用地;出让年限:工业50年;不小于1.0;起始价:712万元,综合楼面价起价:305元/㎡;

地块八:任城区JRC2024-059号唐口片区(园发路以西兴唐路以北)地块
土地位于:任城区唐口街道园发路以西、兴唐路以北;土地面积:12097㎡(约18亩);土地用途:工业用地;出让年限:工业50年;不小于1.0;起始价:430万元,综合楼面价起价:355元/㎡;

各宗地网上挂牌报价时间为:
1. 任城区JRC2024-035号济安台片区(尚仁路以北尚德路以东)地块一:2024年12月22日9时00分至2025年1月2日9时00分。
2. 任城区JRC2024-047号唐口片区(唐姚路以南唐阳路以东)地块:2024年12月22日9时00分至2025年1月2日9时10分。
3. 任城区JRC2024-050号长沟片区(济梁公路以南港湾路以西)地块一:2024年12月22日9时00分至2025年1月2日9时20分。
4. 任城区JRC2024-050号长沟片区(济梁公路以南港湾路以西)地块二:2024年12月22日9时00分至2025年1月2日9时30分。
5. 任城区JRC2023-026号二十里铺片区(北站站前路以北长兴路以东)地块:2024年12月22日9时00分至2025年1月2日9时40分。
6. 任城区JRC2024-069号长沟(疏港路西济梁公路北)地块:2024年12月22日9时00分至2025年1月2日9时50分。
7. 任城区JRC2024-072号长沟(济梁公路东)地块:2024年12月22日9时00分至2025年1月2日10时00分。
8. 任城区JRC2024-059号唐口片区(园发路以西兴唐路以北)地块:2024年12月22日9时00分至2025年1月2日10时10分。
责任编辑:袁培淞
声明:本文由入驻焦点开放平台的作者撰写,除焦点官方账号外,观点仅代表作者本人,不代表焦点立场。


