占地约125亩,总起始价3.84亿!济宁市任城区3宗土地挂牌
扫描到手机,新闻随时看
扫一扫,用手机看文章
更加方便分享给朋友
济宁市任城区挂牌土地!搜狐网济宁小编相关渠道获悉:经济宁市人民政府批准,济宁市自然资源和规划局决定以网上挂牌方式出任城区3宗国有建设用地使用权,土地用途为2宗城镇住宅用地兼容商业用地、1宗商业用地;土地总面积为83451㎡,约125亩;起始价为38434万元。
接下来,我们详细了解一下挂牌出让地块的基本情况和规划指标等要求:

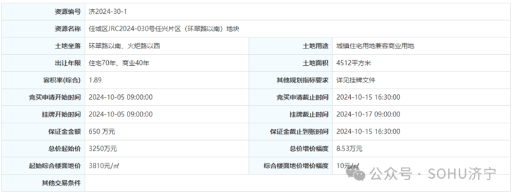
地块一:任城区JRC2024-030号任兴片区(环翠路以南)地块
土地位于:环翠路以南、火炬路以西;土地面积:4512㎡(约6.8亩);土地用途:城镇住宅用地兼容商业用地;出让年限:住宅70年,商服40年;容积率不大于1.89;起始价:3250万元,综合楼面价起价:3810元/㎡;

地块二:任城区JRC2024-031号李营片区(建设路以东花木路以北)地块一
土地位于:规划建设路以东、花木路以北;土地面积:69716㎡(约104.6亩);土地用途:城镇住宅用地兼容商业用地;出让年限:住宅70年,商服40年;容积率不大于1.7;起始价:31467万元,综合楼面价起价:2655元/㎡;

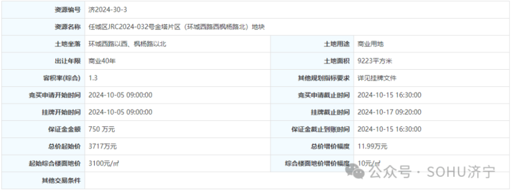
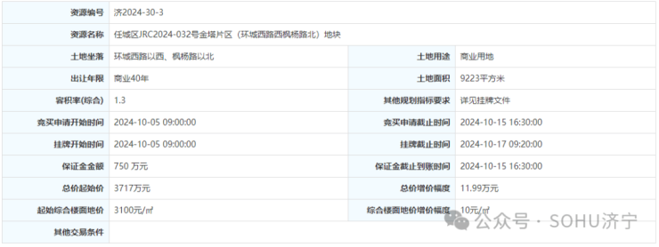
地块三:任城区JRC2024-032号金塔片区(环城西路西枫杨路北)地块
土地位于:环城西路以西、枫杨路以北;土地面积:9223㎡(约13.8亩);土地用途:城镇住宅用地兼容商业用地;出让年限:住宅70年,商服40年;容积率不大于1.3;起始价:3717万元,综合楼面价起价:3100元/㎡;

各宗地网上挂牌报价时间为:
1. 任城区JRC2024-030号任兴片区(环翠路以南)地块:2024年10月5日9时00分至2024年10月17日9时00分;
2. 任城区JRC2024-031号李营片区(建设路以东花木路以北)地块一:2024年10月5日9时00分至2024年10月17日9时10分;
3. 任城区JRC2024-032号金塔片区(环城西路西枫杨路北)地块:2024年10月5日9时00分至2024年10月17日9时20分;
责任编辑:袁培淞
声明:本文由入驻焦点开放平台的作者撰写,除焦点官方账号外,观点仅代表作者本人,不代表焦点立场。


